Yamaha CS-60

Start, trocha úvah a trocha historie

První polyfonní Yamahy řady CS přišly na svět přesně před čtyřiceti lety, v roce 1977. O dva roky později než megasynth GX-1, ze kterého CS řada vychází. Nejdříve nepříliš vřele přijatý model 50, následovaný modely 60 a 80. Přinesly řadu zajímavých technologií a zejména CS-80 se proslavila v hudební a filmové tvorbě. V osmdesátých letech byly jako většina analogových syntetizérů polozapomenuty, ale to už je také historie... Míjely dlouhou dobu i mě a kdybych si pořádně nezahrál na Tomovu padesátku, možná by míjely dodnes.

Osobně potřebuji ve zvuku cítit něco, co nedovedu dostatečně popsat... asi opravdovost, hloubku, pevnost... možná pocit, že jde opravdu o hudební nástroj - a s polyfonními systetizéry je to trochu složité. Často mají nějaká omezení oproti jednohlasým sourozencům a samotná polyfonie nemusí stačit k dokázání životnosti. Řeč je samozřejmě o analogovém světě, kde je v případě polyfonních nástrojů potřeba postavit zvukovou desku tolikrát, kolik hlasů má nástroj mít (samozřejmě máme výjimky, postavené na principu děliček, tj technologie organů, např. Polymoog - kde je ale nutno dělat kompromisy s oscilátory i filtry..). Takže složitost/rentabilita výroby je úměrná počtu hlasů a možnostem, potažmo výrobci hledají, kde si práci zjednodušit.

Když nad tím tak přemýšlím, tak mě nejvíce baví první poly nástroje, které kdy jednotlivé značky uvedly na trh. Třeba Jupiter série od Rolandu, všechny tři jsou skvělé. První OB-X od Oberheimu. Nebo z nedávné minulosti PolyEvolver od DSI. To jsou nástroje, na které je radost hrát. Zjednodušování zapojení a někdy větší nabídka funkcí u následných modelů se negativně promítá do zvuku a do pocitu ze hry, už to prostě není ono.

Ale dost ponurých myšlenek, vraťme se k CS:) V čem se od sebe vlastně liší?
  • CS-50 - 4 hlasy (4x voiceboard), 4 oktávová klaviatura, aftertouch, ring modulátor, 13x preset, 40kg
  • CS-60 - 8 hlasů (8x voiceboard), 5 oktávová klaviatura, aftertouch, ring modulátor, 12x preset, 1x paměť, ribbon, škálovatelnost filtru klaviaturou, 50kg
  • CS-80 - 2x8 hlasů (16x voiceboard), 5 oktávová klaviatura, polyfonní aftertouch, ring modulátor, 22x preset, 4x paměť, ribbon, škálovatelnost filtru klaviaturou, dynamika, 80kg

Tak kterou z nich?:) Samozřejmě, že 80ku... nebo snad rentabilnější šedesátku? Nebo by stačil první model? Ono to ale nebude tak snadné. Nabídka je velmi úzká, sehnat pěknou a funkční kteroukoliv z nich je docela náhoda a vzhledem ke křehkosti, váze a potřebě vyzkoušení je takřka nutné si pro nástroj dojet osobně. Když se pak po necelém roce hledání ukázala hezká CS-60 v Berlíně, bylo to jasné. Teď už je v Praze a těší se skvělé kondici, ale k tomu se ještě dostanu.

Yamaha CS-60 side view

Struktura nástroje

Kazdý hlas: obsahuje jedno VCO, který má výstup čtverec s variabilní šířkou pulzu (fix a vlastní LFO), pilu a sinus. Čtverec, pila a přimíchatelný šum pokračují do dvojitého sériově zapojeného filtru, HPF 12dB/okt a rezonancí a LPF 12 dB/okt s rezonancí. Filtry neumí samooscilaci. Filtr je řízen vlastní obálkou, globálním LFO (zde nazývané Sub oscilator) a škálovatelností dle klaviatury. Výstup z VCF a sinus z VCO pokračují do VCA, které má opět vlastní obálku. VCA může být řízeno také globálním LFO.
Schéma z uživatelského manuálu pro jeden hlas, resp jeden voiceboard, je tady:

Yamaha CS-60 synth structure

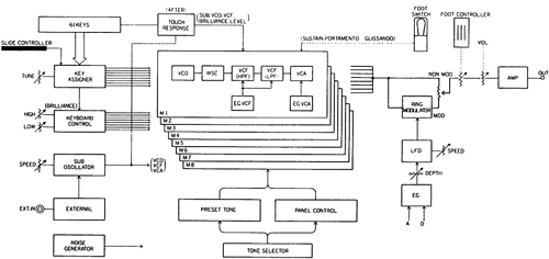
Společné funkce: Zajímavou věcí je Ring modulátor, což je vlastně dedikované LFO s vlastní obálkou k modulaci celkového výstupního VCA. Globální LFO může řídit VCO, VCF a VCA, tvar signálu je sinus, pila negativní, pila pozitivní, čtverec, šum nebo externí signál. Všechna LFO mají maximum na 200Hz, u Ring modulátoru může být rychlost zvýšena vlivem obálky až někam k 1kHz. Aftertouch (optický! ~ dostiskem klávesy se pohne kovovou clonou, která ovlivní průchod světla v optočlenu = velmi jemné dávkování a prakticky nezničitelné) může ovládat ladění filtru, hlasitost a sílu globálního LFO do VCO a VCF. Škálování filtru se ovládá nezávisle pro horní a spodní část klaviatury v kladném nebo záporném nastavení, kdy prostřední oktáva je bez vlivu. Takže lze vyrobit prakticky libovolnou křivku. Pro rychlé ovládání při hře jsou ještě vedle přepínačů presetů dva potenciometry pro ladění filtrů a jejich rezonanci. A konečně ribbon ovládá ladění VCO (místo stisku = bez změny ladění, pohyb nahoru/dolů = +/- ladění). Zajímavou věcí je jedna uživatelská paměť, což je vlastně malý panýlek, na kterém jsou zmenšeniny potenciometrů, které jsou na horní části panelu. Paměť je samozřejmě analogová. Po nastavení chtěného zvuku je možné ručně nastavení přenést sem a mít vysněný zvuk stále k dispozici:)
A obrázek je tady:

Yamaha CS-60 architecture

V podstatě je to docela jednoduché. Sériový filtr je fajn, přestože nezabírá tak, jak jsme zvyklí z Moogů, rychlá LFO jsou fajn, performance možnosti taky... ono je to fajn celé dohromady. Člověk nemá pocit, že mu něco chybí a ani se netopí v přemíře možností. Ještě musím zmínit Portamento, které dovede mít velmi dlouhý čas a jde přenout na Glissando, což je slyšet v první z ukázek. To je taky moc fajn:)

Co je uvnitř a je to spolehlivé?

CS-80 jsou známé jako noční můry majitelů, kdy stačí nástroj přenést z jednoho pokoje do druhého a něco přestane hrát nebo se značně rozladí. Padesátky a šedesátky jsou na tom lépe, byť používají stejnou technologii - jen méně extenzivně.
Co je tedy v šedesátce:

  • SVU - napajecí zdroj, +/-15V, +8,5, -6,5. Velmi specifické zapojení, kdy zdroj vyžaduje zpětnou vazbu z napájených zařizení, jinak se umí sám zacyklit a zničit. Stejný zdroj má CS-80.
  • KAS - klávesový dekodér. Veliká deska pod klaviaturou, má na sobě dva custom Yamaha čipy - jeden je dekodér hlasů (YM26600) a druhý slouží jako CV převodník (YM26700) pro všechny hlasy - a samozřejmě desítky logických obvodů. Interní napětí v CS řadě je logaritmické, 0,25-0,5-1-2-4V (a stejně ho přijímá VCO, takže bez konverze). Stejná deska je i pro CS-50 a CS-80 (byť trochu jinak zapojená). Úpravou zapojení YM26600 by mělo jít změnit počet hlasů.
  • SH - sample-hold, spojuje výstup dekodéru hlasů a CV převodníku pro řízení hlasových desek. Pod klaviaturou, specifická pro CS-60.
  • KBC - samostatná deska s CV převodníkem YM26700 pro řízení škálování filtru. Vedle farmy hlasových desek. Specifická pro CS-60 a CS-80, CS-50 nemá.
  • SUB - deska se všemi globálním LFO, PWM LFO, obvodem pri řízení ribonnu, aftertouche a šumovým generátorem. Krom jiného obsahuje Yamaha custom čipy: 2x IG00150 (LFO), 4x IG00151 (VCA). Stejné pro CS-50 i CS-80.
  • PRA - výstupní deska - výstupní zesilovač, sluchátkový zesilovač, Ring modulátor a jeho obálka. Krom jiného Yamaha custom čipy: 1x IG00150 (LFO), 1x IG00151 (VCA), 1x IG00159 (EG). Stejné pro CS-50 i CS-80.
  • M1 až M8 - hlasová deska. Každý jeden hlas nástroje - oscilátor, filtry, obálky, výstupní zesilovače, řízení transpozice. Krom jiného Yamaha custom čipy: 6x IG00151 (VCA), 1xIG00153 (VCO), 1x IG00158 (Waveconverter), 2x IG00156 (VCF), 1x IG00152 (EG s initial level) 1x IG00159 (EG). Stejné pro CS-50 i CS-80.
  • R6 - rezistorová deska, ostatní desky mají na sobě často nepropojené vstupy a výstupy (kvůli použití v dalších nástrojích), tady se propojují:-)
  • T61 - první deska nastavení presetů (rezistory a diody)
  • T62 - druhá deska nastavení presetů (rezistory a diody)

Yamaha CS-60 open 6000px

Ten počet custom čipů je děsivý. V podstatě nejsou ničím nahraditelné (možná ta VCA ještě...), dají se sehnat občas na ebay, ale ceny nejsou pěkné. CS-80 je na tom ještě podstatně hůře, těch voiceboardů je tam 16, plus speciální desky pro dynamiku a polyfonní aftertouch. Každá deska má doslova desítky nastavovacích trimrů, v šedesátce jsem jich napočítal 260. A občas se ovlivňují navzájem plus u hlasů musí být nastaveny tak, aby každý hrál opravdu stejně, jinak je to slyšet... Předchozí majitel mi vyprávěl, že si nemůže dovolit udržovat Ferrari a úplně ho chápu. Toto není nástroj pro někoho, kdo neholduje elektronice nebo nemá dobrý servisní zdroj. Na druhou stranu osazení a mechanické součástky jsou ty nejvyšší úrovně, něco jako šramotící potenciometr je tu scifi. Case, byť vypadá jako kovový, je komplet dřevěný s lakovaným exteriérem. To přináší problémy s uzeměním, respektive odvodem statické elektřiny, cokoliv kovového je propojeno kabely a přivedeno na zem.

Moji šedesátku jsem pořizoval s tím, že jeden hlas zlobil, občas hrál, občas nehrál, a že úplně neladí. Převoz po dálnici přežila v pořádku, doma jsem se s ní seznamoval, nadšení neznalo mezí, ale rozhodl jsem se, že se jí servisně budu trochu věnovat. Což znamenalo výměnu všech CMOS logických obvodů - je jich tam asi 40 a pocházejí z prvních generací CMOS obvodů. Dnešní modely jsou rychlejší, mnohem stabilnější a méně háklivé na zničení statickou elektřinou. A také výměnu všech několika stovek elektrolytických kondenzátorů plus jednoho jediného tantalu. Čtyřicet let staré kondenzátory výrazně mění své vlastnosti, zejména co se týká rychlosti vybíjení plus mohou být příčinou spousty poruch. V M deskách bylo také několik bipolárních elytů hodnot jednotek mikrofaradů, které jsem nahradil mnohem lepšími foliovými kondenzátory. Na M desky jsem ještě přidal LEDky triggeru, abych rychle poznal, která právě hraje.

Pak přišla fáze kalibrace. Prošel jsem kompletní servisní manuál, který je napsaný vcelku srozumitelně, ale některé věci záhadně chybí. Tady pomohl servisní manuál k CS-80. Jde zejména o nejsložitější věci - nastavení filtrů a nastavení rychlosti obálek. Po přesné kalibraci bylo ještě nutno přizpůsobit všechny M desky k sobě, aby chování bylo co možná nejstejnější. Spousta věcí při kalibraci byla velmi unikátní, fascinovalo mě například nastavení LFO, kdy je možné určit si "uživatelsky" logaritmitu rychlostních potenciometrů nastavitelnou středovou a koncovou hodnotou. Yamaha doporučuje ve středu 7Hz a na konci 200Hz, což zní skvěle (a v původním nastavení to tak už dávno nebylo). Suma sumárum jen na kalibraci jsem vypálil asi 40 hodin práce, to se mi u žádného nástroje ještě nikdy nestalo. Ano, servisní Ferrari:) Teď mám pocit, že bych si troufl i na osmdesátku, ale musel bych se dostat do nějakého zenového klidového stavu, jinak by to nešlo.

Každopádně všechny tyto zásahy dávají smysl a myslím, že jsou nutné, když si chce člověk užívat čisté radosti ze hry a dopřát nástroji dlouhověkost. Chyba s vypadávajícím hlasem se odstranila (pravděpodobně některý z CMOSů), kalibrací se Yamaha posunula do jiných sfér. Ladění drží a je stabilní.

V nástroji se nabízí pár možností pro modding, třeba inspirované monofonní CS řadou - dvě rychlosti obálek nebo přepínání typů filtrů (použité čipy mají výstup LP, BP, HP). Někde jsem četl o možnosti unisono režimu, resp. 4násobného dual-mode. A také MIDI by se mohlo hodit. Uvidíme a dám vědět.

Zajímavý tip na opravu/renovaci/kalibraci CS-60 přinesl na Youtube uživatel Golt. Přestože některé věci nechává stranou (třeba nastavení obálek nebo LFO), může být zdrojem velké inspirace. Video je třídílné, první díl tady.

Yamaha CS-60 voiceboard
Finále

Možná jsem nekritický, ale i nefanoušek Blade Runnera si musí první CS řadu zamilovat. Ty nástroje jsou geniální. Každý tón žije, expresivita hry je perfektní, uživám si každé hraní na Yamaze. Top polyanalog. Zvuk umí být pěkně vintage, ale i naprosto současný a moderní. I přes nutnost udržovacích investic a nenulové pravděpodobnosti budoucích poruch, tohle za to stojí. Poslechněte si ukázky níže, z nich je to snad slyšet. Jen doba nízkych cen je pryč, byť padesátka a šedesátka jsou ještě zaplatitelné, ale trend je neúprosný. Kdo se zamiluje stejně, jako se to přihodilo mně, měl by se po nich rychle začít poohlížet.

Následníkem CS 50/60/80 byla Yamaha CS70m, také zajímavý stroj, osazený velmi podobně jako předchůdci, ale trpící začátkem digitální revoluce, viz slyšitelně skokové změny hodnot potenciometrů atd. Je to na zvážení. Edit 2024: viz link na můj test, CS70m umí nově věci, o kterých se jí ani nesnilo!
A pak už přišla DX7, což je úplně jiný příběh....:)

Yamaha CS-60 front 6000px
Demo Yamaha CS-60:

direct recording to upgraded Behringer ADA8000 > Logic Pro 9.1 > SoundForgeOSX 1.0.

Yamaha CS-60 back
Zveřejněno: 28. 07. 2017 (přečteno 5477)

Yamaha CS-60 - komentáře

Komentář ze dne: 21.11.2017 20:12:52     Reagovat
Autor: neregistrovaný - Mendelsson (jan.mendelsson@gmail.com)
Titulek: Stroj času
Gratuluju k parádnímu mega-kousku! Já polyfonní synty miluju, a tady bych se zabouchnul raz-dva :-) Co se týče modů, za sebe bych navrhoval variantu 2 x 4 hlasy, ale já hraju trochu jinak, než ty, takže se spíš nechám překvapit :-O

Související články
ARP Omni II (20.09.2023)
Waldorf Q+ (29.07.2023)
Guinguin MME (15.06.2023)
DinSync RE-909 (17.12.2022)
DinSync RE-808 (19.11.2022)
ASM Hydrasynth (28.03.2020)
Aelita (19.07.2018)
Yamaha SK30 (01.01.2018)
Alisa 1387 (12.09.2011)
SammichSID (16.05.2010)
Simmons ClapTrap (05.09.2009)
Boss DR-220A (10.08.2009)
Akai VX600 (10.08.2009)
Roland SH-2 (08.06.2009)
Korg DSS-1 (02.04.2009)
Roland SRE-555 (12.03.2009)
Crumar Performer (01.10.2008)
Seak ADM 5 (11.07.2008)
Korg Polysix (29.04.2008)
Paia Gnome (11.01.2008)
Roland Jupiter 4 (11.10.2007)
Roland SH-09 (22.07.2007)
Chroma Polaris (06.01.2007)
Roland SH-5 (03.11.2006)
Kawai K3m (07.10.2006)
Korg EX 8000 (05.10.2006)
DSI Evolver (08.08.2006)
Jomox MBase01 (18.03.2006)
Casio VZ10m (28.01.2006)
Prodám-koupím (21.08.2005)
Waldorf Microwave (18.12.2004)
ARP Axxe (18.11.2004)
Pluto 3000 (18.10.2004)
Ensoniq ESQ1 (10.10.2004)
Doepfer MS-404 (01.09.2004)
Kawai K4r (18.08.2004)
Alesis Andromeda A6 (17.06.2004)
Tiracon 6V (10.12.2003)
Waldorf MicroQ (01.07.2003)
Oberheim OB-12 (11.11.2002)
MAM ADX1 (10.10.2002)
Waldorf Pulse (18.07.2002)
Kawai K5000W (01.05.2001)
Yamaha TX 81Z (18.08.2000)
Crumar Bit One (18.08.1999)
Roland JX3P (18.08.1998)
Korg Prophecy (05.05.1997)
Roland JX8P (30.05.1996)
Roland Juno Alpha (01.04.1994)
Roland Juno 106 (01.02.1994)
Roland MT-32 (01.01.1994)
Yamaha FB-01 (01.03.1993)
Vermona DRM (28.02.1991)
© bodyia 1997-2025, powered by phpRS || TOPlist